Flat Cable Clamp 排線固定板
FCM-25S
產品特性
- 背膠式設計,板上無需鑽孔
- 多種規格,適用多種尺寸排線
- 彈性上蓋設計,更緊密將排線固定住
- 背膠可依需求更換
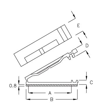
產品規格
- MATERIAL: NYLON66 (UL)
- FLAME CLASS: 94V-2
- COLOR: NATURAL
- ADHESIVE TAPE: 3M
WITH LOCK FEATURE
| PART NO | A | B | C | D | E | SUITABLE CABLE | PACKAGE |
| FCM-25S | 22.0 | 28.0 | 3.0 | 4.7 | 10.0 | 15 PIN | 200 |
| FCM-25 | 29.3 | 36.5 | 3.0 | 4.7 | 10.0 | 20PIN | |
| FCM-25M | 55.8 | 61.2 | 4.0 | 4.7 | 15.0 | 40 PIN | 100 |
- 附件下載





